该灌装机器是一种全自动活塞式灌装机械,该机械采用通过气缸的上下运动同时带动相应料缸内的活塞作往复运动,从而使料缸前腔产生负压
产品名称:全自动直线式液体灌装机
产品型号:RG6T-6G
产品简介:
全自动直线式液体灌装机是一种全自动活塞式灌装机械,该机械采用通过气缸的上下运动同时带动相应料缸内的活塞作往复运动,从而使料缸前腔产生负压,并以信号阀控制气缸的行程,即可调节灌装量,从而达到精确的灌装效果。该全自动液体灌装机是建立在参考国外同类产品的基础上进行了重新设计,并增加了部分附加功能。使产品在使用操作、净度误差、装机调整、设备清洗、维护保养等方面更加简单方便。
适用范围:
全自动直线式液体灌装机操作简单,使用方便,被广泛适用于食品,医药,化工,日化,酒水,食用油等行业的不同粘度的液体进行自动化灌装。
全自动直线式灌装机主要适用在洗液、护理液、口服 液、护肤液、消毒液、粉底液、防冻液、洗发液、护发液、洗手液、洗眼液、营养液、注射液、农药、医药、洗洁净、沐浴露、香水、食用油灌装机、牛奶、果汁、饮料、润滑油及特殊行业的液体灌装。
产品特点:
A、该液体灌装机在参考国外同类产品的基础上进行改良设计,并增加了部分附加功能。
B、使产品在使用操作、精度误差、装机调整、设备 清洗、维护保养等方面更加简单方便。
C、该机设计紧凑合理、外形简洁美观,灌装量调节方便。
D、该机有六个灌装头,由六个气缸驱动、灌装物料更加快速精确。
E、采用德国FESTO、台湾AirTac的气动组件和台湾台达的电控部件,性能稳定。
F、物料接触部分均采用316L不锈钢材料制成。
G、灌装机采用韩国光眼装置,台湾PLC、触摸屏、变频器及法国电器元件。
H、调节便利、无瓶不灌装、灌装量准确并具有计数功能。
I、采用防滴漏与拉丝的灌装闷头、防高泡产品的灌装升降系统、确保瓶口定位的定位系统和液位控制系统。
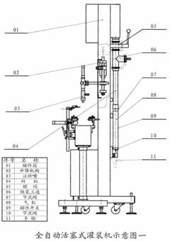
设备平面解析:

技术参数:
灌装头数 | 6头型 |
电流 | 3A |
电源 | 220/110V 50/60Hz |
功率 | 500W |
气压 | 0.4-0.6MPa |
灌装精度 | ≦±1﹪ |
灌装速度 | 60-100瓶/分 |
可选机型 | 5-60ml 10-125ml 25-250ml 50-500ml 100-1000ml 250-2500ml 500-5000ml |
全自动直线式液体灌装机安装调试
1、安置:选择室内平整干燥的地方,平稳安置开箱后的主机和输送台。主机在输送台的里侧,使灌装头垂直在输送台中央的正上方。
2、安装输送器:将输送带底脚、立柱安装稳定,底脚螺栓可稍调高低。检查输送链板松紧合适,接通电源(典源线插头载主电源箱后背),输送带应转动平稳,调速有效。
3、配置电源:本设备采用电压220V单相三线制电源,电流3A。用户在接入电源时必须要有可靠的接地,以保证人身安全。
4、配置气源:本设备采用的气源为0.4-0.6MPa,用户配置的气源药稳定,保证气缸动作的均匀性,以达到精确的灌装效果。
5、安装光眼:按照输送台上安装位置将光眼固定,每一组的对射位要准确,达到准确的计数效果。
6、开机:按照以上的操纵安装完毕之后就可以按照设备的使用操作说明以及机械制造公司对于客户企业操作人员的培训,进行开机试机即可。
设备的具体操作:
1.将被灌的液瓶倒置放在工作篮上,检查液瓶下口应对齐。
2.将真空篮放在真空灌中,盖好快开罐盖并锁紧。
3.关闭放空阀门、进液阀、开启真空泵,调节真空调接阀使真空度(试灌装量而定)达到工艺要求、踩下脚踏板使被灌的液瓶下口插液体。
4.缓慢开启进液阀门,这时灌内液位升高,同时开启放空阀门,使液位保持在视镜规定的液位之间。
5.当真空表指针处于0状态时,证明灌液以完毕,退回脚塌板,可打开快开罐盖取出也灌满的液瓶。
6.真空汞的故障排除见(XD系列但旋片式真空泵使用说明书),真空泵长期不用(超过七天),应将汞内也用过的机油放净,并用新机油冲洗、换新,一防油中水份腐蚀泵体。
全自动直线式液体灌装机相关细节:

全自动直线式液体灌装机灌装头细节展示(8头)

全自动直线式液体灌装机灌装头细节展示(6头)
设备灌装速度的调整:
1、松开节流阀一、节流阀二的调节螺母。
2、顺时针转动设备上方节流阀手柄,气缸前行速度放慢,出料速度也放慢。
3、逆时针转动设备上方节流阀手柄,气缸前行速度加快,出料速度也加快。
4、顺时针转动设备下方节流阀手柄。气缸后退速度放慢,吸料速度也放慢。
5、逆时针转动设备下方节流阀手柄,气缸后退速度加快,吸料速度也加快。
维护和保养:
1、经常保持设备的清洁,特别对电盘上的电器,要防潮、防尘,禁止随意对变频器和程序控制器变更程序。
2、电源电压要稳定,不可超过±15%,物料温度应保持在10℃~40℃,环境温度应保持在5℃~40℃,温度应保持在5~95%PH。
3、本机使用的流量计为精密仪器,因此,油品必须经过精密过滤后才可以进行灌装。
4、没办工作完毕后应关闭电源和进油阀门。
5、注意爆出红外线传感器的干净,经常用清洁棉花擦拭干净,严禁任何物体在工作过程中靠近传感器,不可有较强光线直射或反射到传感器上,否则会繁盛误动作。
6、定期对气动三联体添加气缸润滑油。
7、长期不使用本机时,应把各部分擦拭干净,并用塑料或篷布覆盖防尘。
全自动直线式液体灌装机灌装中细节展示在生产线中的使用及相关配件:

全自动直线式液体灌装机灌装生产中细节展示

全自动直线式液体灌装机储料缸

全自动直线式液体灌装机气缸
常见问题的处理方式:
、设备气缸活塞不运作了怎么办?
1.确认安全急停开关是否安全
2.确认气源开关是否打开
3.确认单向信号阀有无损坏
第二、设备气缸活塞推到后不返回怎么处理?
确认移动靶是否与单向阀接触
第三、设备的灌装量不准确或者不出料怎么调整?
1.确认上下节流阀有无关闭
2.增大气缸节流阀抽料速度
3.确认快装三通有无用卡箍锁死
4.确认储料箱是否有足够的物料
5.确认个管连接处是否密封
第四、设备的物料从料缸后端流出怎么办?
1.检查活塞上的密封圈是否磨损,若磨损要更换
2.确认活塞与活塞杆是否紧固
全自动直线式液体灌装机灌装效果:

全自动直线式液体灌装机灌装红酒效果展示(酒水)

全自动直线式液体灌装机灌装饮料、牛奶效果展示(食品饮料)

全自动直线式液体灌装机灌装洗衣液效果展示(日化)
